您好!欢迎光临浙江省清洗保洁行业协会,我们竭诚为您服务,期待与您合作!
定制咨询热线0571-81902645
浙江省清洗保洁行业协会
您的位置:首页 > 技术培训 > 培训动态
在线留言

浙江省清洗保洁行业协会

联系人:李华
手 机:15336504992
电 话:0571-81902645
地 址:杭州市西湖区余杭塘路928 号西溪园3 号楼北楼1108室

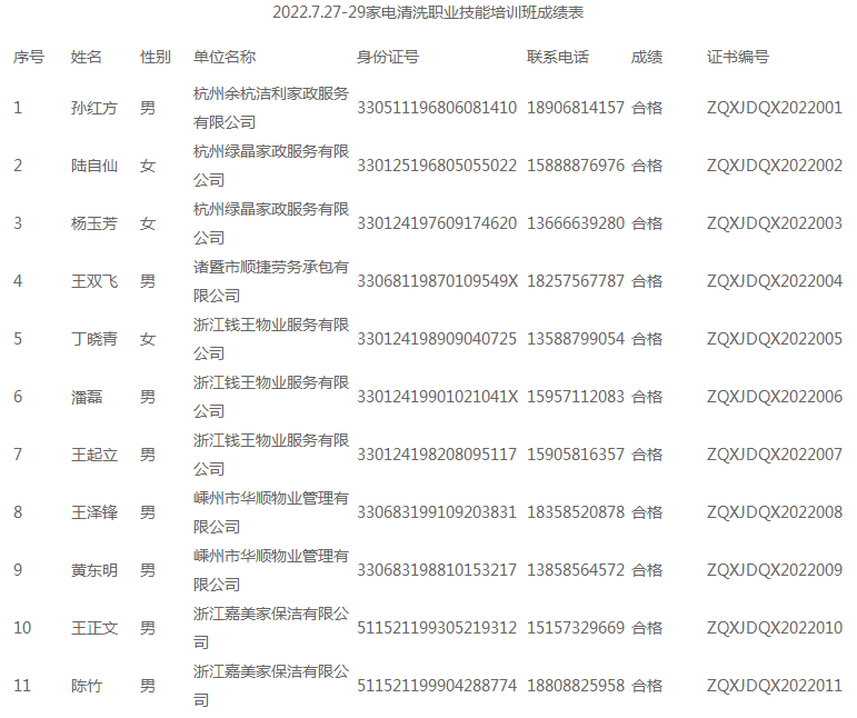
2022.7.27-29家电清洗职业技能培训班成绩表

发布时间:2024-03-12人气:28

20.png

0571-81902645